ОВЕН УЗС1 предназначен для управления аналоговыми исполнительными механизмами в ручном либо автоматическом режиме. В ручном режиме значение сигнала 4…20 мА постоянного тока или 0…10 В напряжения постоянного тока задаётся пользователем с лицевой панели прибора, а в автоматическом – сигнал транслируется устройством от управляющего прибора или контроллера.
Отличительные особенности и функциональные возможности ОВЕН УЗС1
- Входной сигнал: 4…20 мА постоянного тока.
- Выходной сигнал: 4…20 мА постоянного тока или 0…10 В напряжения постоянного тока.
- Наличие гальванической развязки входного и выходного сигналов.
- Переключение режимов происходит без скачков выходного сигнала (безударный переход).
- Переключение между режимами «автомат» и «ручной» осуществляется с лицевой панели устройства или при помощи внешнего тумблера.
- При некорректных значениях входного сигнала на выходе прибора выдаётся предустановленное значение.
- Значение выходного сигнала может задаваться при помощи кнопок на лицевой панели прибора.
- Дискретность изменения выходного сигнала настраивается.
- Значение выходного сигнала отображается в «%» или «мА/В».
- Режим работы «автомат/ручной» индицируется при помощи встроенного э/м реле.
- Прибор оснащён встроенным источником с номинальным напряжением 24 В постоянного тока для питания входных и выходных цепей.
- Монтаж прибора может осуществляться в щит, на DIN-рейку либо стену.
| Характеристика | Значение |
| Диапазон переменного напряжения питания, В | 90...245 |
| Частота, Гц | 47…63 |
| Номинальное напряжение питания, В | 230±4 |
| Потребляемая мощность, ВА, не более | 7 |
| Напряжение встроенного источника питания постоянного тока, В | 24±2,4 |
| Максимально допустимый ток встроенного источника питания, мА | 80 |
| Тип входного сигнала, мА | 4…20 |
| Время опроса входа, сек, не более | 0,4 |
| Предел основной приведенной погрешности преобразования, % | 0,5 |
| Степень защиты корпуса- настенный Н
- щитовые Щ1 и Щ2 (со стороны лицевой панели) - DIN-реечный Д (со стороны лицевой панели) |
IP44
IP54 IP20 |
| Габаритные размеры прибора:- настенный Н, мм
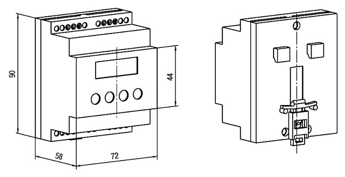
- щитовой Щ1, мм - щитовой Щ2, мм - DIN-реечный Д, мм |
(130×105×65)±1
(96×96×65)±1 (96×48×100)±1 (90×72×58)±1 |
| Масса прибора, кг, не более | 0,5 |
| Средний срок службы, лет | 8 |
| Допустимая нагрузка на выходе 4…20 мА, Ом, не более | 1000 |
| Диапазон допустимых напряжений питания выхода 4…20 мА | 12…30 |
| Допустимая нагрузка на выходе 0…10 В, Ом не менее | 2000 |
| Диапазон допустимых напряжений питания выхода 0…10 В | 16…30 |
| Условия эксплуатации:- температура окружающего воздуха, °С
- относительная влажность воздуха не более, % (при +25 °С без конденсации влаги) |
-20…+55
80 |


Настенное исполнение Н

Исполнение на DIN-рейку Д

Щитовое исполнение Щ1
Щитовое исполнение Щ2



