Отже, використання терморегуляторів дозволяє вирішити такі завдання:
- Економія теплової енергії.
- Створення в приміщеннях комфортного мікроклімату.
- Збереження в опалювальній кімнаті достатньої кількості кисню.
- Контроль температури в приміщенні.
Розрізняють механічні, електронні та електромеханічні регулятори тепла. Кожен з видів приладів має свою область використання, свої переваги і недоліки. Вибір того чи іншого різновиду теплового регулятора залежить від особливостей клімату і кількості обігрівальних приладів. Основна перевага електронного варіанту вимірювача регулятора температури - висока точність. Механічні терморегулятори менш точні, але вартість їх невелика, а надійність набагато вище, ніж у електронних приладів.
Де можна купити регулятори температури?
Якщо вам потрібно купити регулятор температури, - ви можете зробити це в нашому інтернет-магазині. Тепер вам не доведеться витрачати час на пошуки необхідного товару. Вам потрібно лише вибрати продукцію по каталогу і оформити заявку в режимі онлайн або по телефону. Головними перевагами покупок в нашому магазині є:
- Помірні ціни на товари.
- Можливість доставки по Україні, при неможливості самовивозу.
- Великий асортимент товарів.
- Зручність оплати (через банк готівкою або за допомогою платіжного доручення).
- При виникненні питань, пов'язаних з вибором продукції або оформленням замовлення, ви можете розраховувати на консультаційну підтримку менеджерів компанії.
Технічні характеристики регулятора температури
| Найменування | значення | ||||
| Діаметр умовного проходу, мм | 15 | 25 | 40 | 50 | 80 |
| Діапазони налаштування регульованою температури, ° C | 0-40; 20-60; 40-80; 60-100; 80-120; 100-140; 120-160; 140-180 | ||||
| Зона пропорційності, ° C | 10 | ||||
| Зона нечутливості, ° C | 1 | ||||
| Постійна часу, з | 100 | ||||
| Умовна пропускна здатність Кv, м 3 / год | 2,5 | 6,3 | 16 | 25 | 60 |
| Протікання в% від Кv, не більше | 0,1 | ||||
| Температура регульованою середовища, ° C | від -15 до +225 | ||||
| Довжина дистанційного зв'язку, м | 1,6; 2,5; 4; 6; 10 | ||||
| Тиск регульованою середовища, МПа | 1,6 | ||||
| Умовний тиск, МПа | 1,0 | 0,63 | |||
| Перепад тиску на регулюючому органі, МПа | 0,6 | 0,4 | |||
| Маса регуляторів, кг | 7 | 9,5 | 14,5 | 22 | 40 |
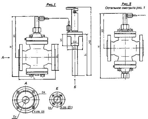
Габаритні і приєднувальні розміри
| позначення | Мал. | Dу | D1 | D2 | D3 | D4 | D5 | D6 | H | H1 | H2 | h | h1 | L1 |
| розміри мм, не більше | ||||||||||||||
| РТ-ДО-15 | I | 15 | 95 | 34 | 80 | 65 | 14 | 65 | 265 | 195 | 470 | 270 | 64 | 130 ± 1,0 |
| РТ-ДЗ-15 | I | 180 | ||||||||||||
| РТ-до25 | I | 25 | 115 | 85 | 285 | 205 | 160 ± 1,0 | |||||||
| РТ-ДЗ-25 | II | 295 | 155 | |||||||||||
| РТ-ДО-40 | I | 40 | 145 | 110 | 325 | 225 | 200 ± 1,0 | |||||||
| РТ-ДЗ-40 | II | 335 | 185 | |||||||||||
| РТ-ДО-50 | I | 50 | 160 | 53 | 100 | 125 | 18 | 80 | 430 | 315 | 690 | 490 | 80 | 230 ± 1,0 |
| РТ-ДЗ-50 | II | 440 | 225 | |||||||||||
| РТ-ДО-80 | I | 80 | 185 | 150 | 500 | 355 | 310 ± 1,0 | |||||||
| РТ-ДЗ-80 | II | 510 | 285 | |||||||||||
Габаритні розміри упаковки і маса
| Модель | Кількість в упаковці | маса, кг | Габаритні розміри, мм. | |||
| приладу | в упаковці | L | B | H | ||
|
РТ-ДО (ДЗ) -15 |
1 |
7 |
21 |
571 |
249 |
222 |
|
2 |
28 |
602 |
269 |
249 |
||
|
4 |
40 |
638 |
374 |
|||
|
РТ-ДО (ДЗ) -25 |
1 |
9,5 |
21 |
571 |
249 |
222 |
|
2 |
28 |
602 |
269 |
249 |
||
|
4 |
40 |
638 |
374 |
|||
|
РТ-ДО (ДЗ) -40 |
1 |
14,5 |
21 |
571 |
249 |
222 |
|
2 |
38 |
807 |
362 |
277 |
||
|
РТ-ДО (ДЗ) -50 |
1 |
22 |
33 |
282 |
242 |
|
|
РТ-ДО (ДЗ) -80 |
1 |
40 |
54 |
362 |
277 |
|
Схема установки регулятора РТ-ДО в системах опалення
Схема включення регулятора РТ-ДО в системах автоматичної підтримки температури промислових установок






