Основні особливості модуля введення дискретних сигналів МВ110-32ДН
- 32 каналу дискретного введення
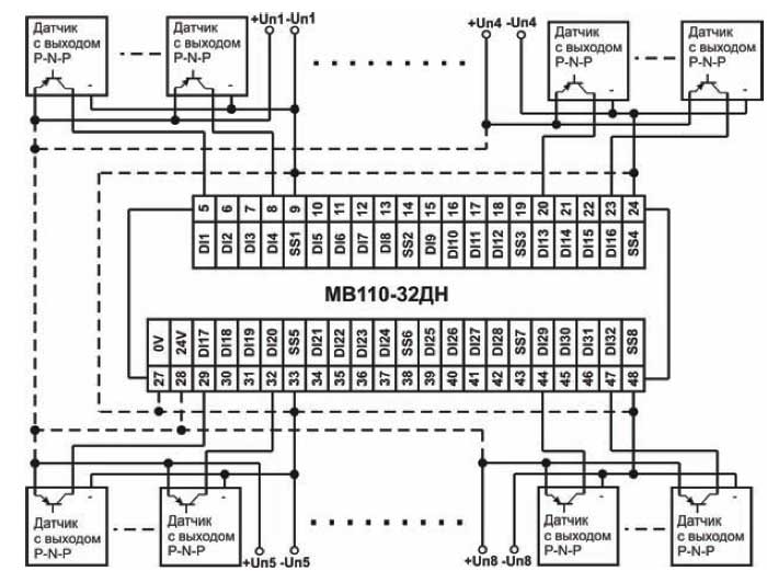
- Типи вхідних сигналів: сигнали = 24 В, транзисторні ключі pnp, npn типу
- Частота вимірів: до 1 кГц, мінімальна тривалість імпульсу 0.5 мс
- Лічильник імпульсів для кожного каналу
МВ110 не є Майстром мережі, тому мережа RS-485 повинна мати Майстер мережі, наприклад, ПК із запущеною на ньому SCADA-системою, контролер або регулятор. До МВ110 надається безкоштовний ОРС-драйвер і бібліотека стандарту WIN DLL, які рекомендується використовувати при підключенні приладу до SCADA-системам і контролерам інших виробників. Конфігурація МВ110 здійснюється на ПК через адаптер інтерфейсу RS-485 / RS-232 або RS-485 / USB (наприклад ОВЕН АСЗ-М або АС4) за допомогою програми «Конфігуратор М110», що входить в комплект поставки. Прилад відповідає вимогам по стійкості до впливу перешкод відповідно до ГОСТ Р 51522 для обладнання класу А.
Напруга живлення
| МВ110-220.32ДН | 90..264В змінного струму (номінальна напруга 220В) частотою 47..63Гц |
| МВ110-24.32ДН | 18..29В постійного струму (номінальна напруга 24В) |
| Найменування | значення |
| Напруга живлення: | |
| МВ110-220.32ДН | 90 ... 264 В змінного струму (номінальна напруга 220 В) частотою 47 ... 63Гц |
| МВ110-24.32ДН | 18 ... 29 В постійного струму (номінальна напруга 24 В) |
| Споживана потужність, ВА, не більше: | |
| МВ110-220.32ДН | 40 |
| МВ110-24.32ДН | 25 |
| Кількість дискретних входів | 32 |
| Напруга вбудованого джерела живлення активних датчиків, В | 24 ± 3 |
| Максимальний вихідний струм вбудованого джерела живлення датчиків, мА, не більше | 630 |
| Інтерфейс зв'язку з комп'ютером | RS-485 |
| Максимальна швидкість обміну по інтерфейсу RS-485, б / с | 115200 |
| Протокол зв'язку, який використовується для передачі інформації | ОВЕН; ModBus-RTU; ModBus-ASCII; DCON |
| Ступінь захисту корпусу | IP20 |
| Габаритні розміри приладу, мм | (140x110x73) ± 1 |
| Маса приладу, кг, не більше | 0,5 |
| Середній термін служби, років | 8 |
ПАРАМЕТРИ ДИСКРЕТНИХ ВХОДІВ
| Найменування параметру | значення |
| Гальванічна розв'язка дискретних входів | групова |
| Електрична міцність ізоляції дискретних входів, В | 1500 |
| Максимальна частота сигналу, що подається на дискретний вхід, кГц | 1 |
| Мінімальна тривалість імпульсу, сприйманого дискретним входом, мс | 0.5 (шпаруватість 2 для частоти 1кГц) |
| Напруга живлення дискретних входів, В | 24 ± 3 |
| Максимальний вхідний струм дискретного входу, мА, не більше | 8,5 (при напрузі живлення входу 27В) |
| Струм «логічної одиниці», мА, не менше | 4,5 |
| Струм «логічного нуля», мА, не більше | 1,5 |
| Тип датчика дискретного входу | комутаційні пристрої (контакти кнопок, вимикачів, герконів, реле і т.п.), датчики, що мають на виході транзисторний ключ npn- типу (відкритий колектор) або pnp- типу |
УМОВИ ЕКСПЛУАТАЦІЇ ПРИЛАДУ
Прилад експлуатується при наступних умовах:
- закриті вибухобезпечні приміщення без агресивних парів і газів;
- температура навколишнього повітря від мінус 10 до +55 ° С;
- верхня межа відносної вологості повітря 80% при 25 ° С і більш низьких температурах без конденсації вологи;
- атмосферний тиск від 86 до 106,7 кПа.









