Приєднання моделі ПД100І-121 виконано у вигляді «торцевої мембрани» без ущільнення, що дозволяє застосовувати датчики цієї моделі на виробництвах харчової промисловості для вимірювання параметрів високов'язких, сильнозагрязненная і полімеризуються середовищ. Мембрани датчиків виготовляються з нержавіючої сталі AISI316L. Штуцери з різьбленням G1 / 2 виробляються з нержавіючої сталі AISI304S. У датчиках застосовується високочутливий сенсор. Моделі 121 датчиків ПД100 призначені для визначення рівня робочого середовища в відкритих ємностях і вимірювання тиску в трубопроводах на харчових виробництвах, целюлозно-паперових комбінатах, мазутних складах, водоканалах, пожежних системах та інших виробництвах з в'язкими і забрудненими середовищами: каналізаційні стоки, целюлозні пульпи, піноутворювачі , патоки і т.п.
Основні характеристики
- Типи вимірюваного тиску:
- надлишкове (ДІ);
- вакуумметрическое (ДВ);
- надлишково-вакуумметрическое (ДІВ).
- Вихідний сигнал датчика - уніфікований сигнал 4 ... 20 мА постійного струму.
- Верхня межа вимірюваного тиску (ВПІ) - від 10 кПа до 4 МПа.
- Перевантажувальна здатність - не менше 200% ВПІ.
- Ступінь захисту корпусу та електричного роз'єму перетворювача - IP65.
- Перешкодостійкість відповідає вимогам до обладнання класу А по ГОСТ Р 51522.
| Найменування | значення |
| Вихідний сигнал постійного струму | 4 ... 20 мА, 2-провідна схема |
| Основна приведена похибка | 0,25; 0,5% ВПІ |
| Діапазон робочих температур вимірюваного середовища | -40 ... + 100 ° С |
| Напруга живлення | 12 ... 36 В постійного струму |
| опір навантаження | 0 ... 1,0 кОм (в залежності від напруги живлення) |
| споживана потужність | не більше 0,8 Вт |
| Стійкість до механіческімвоздействіям | група виконання V3по ГОСТ Р 52931 |
| Ступінь захисту корпусу | IP65 |
| Стійкість до кліматичних впливів | УХЛ3.1 |
| Діапазон робочих температур навколишнього повітря | -40 ... + 80 ° С |
| Атмосферний тиск робочий | 66 ... 106,7 кПа |
| Середній час напрацювання на відмову | Проте 500 000 ч |
| Середній термін служби | 12 років |
| міжповірочний інтервал | 2 роки |
| Методика повірки | КУВФ.406230.100 МП |
| Вага без упаковки / в упаковці | 0,2 кг / 0,3 кг |
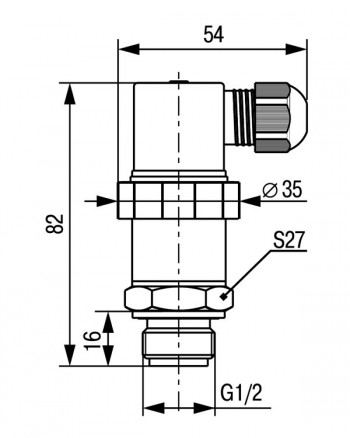
| Штуцер для підключення | G1 / 2 «торцева мембрана» |
| Тип електричного з'єднувача | EN175301-803 форма А |
| Габаритний розмір (по висоті) | не більше 92 мм |
| перевантажувальна здатність | Проте 200% від ВПИ |
| Граничний тиск перевантаження | Проте 400% від ВПИ |
![]()
УВАГА
При підключенні джерела живлення потрібен дотримуватись полярності! Неправильне підключення може призвести до псування обладнання.

Обмеження опору навантаження:
Rн = Rи + Rогр ≤ Rн мах,
Rн мах = (Uпит - 7) / 0,023,
де Rи - вхідний опір вимірювача, Ом; Rогр - опір обмежує резистора, Ом; Rн мах - максимальний опір навантаження, Ом; Uпит - напруга живлення, В.



