Встроенные дискретные входы могут работать в режиме счетчиков импульсов частотой до 1 кГц МВ110 работает в сети RS-485 по протоколам ОВЕН, ModBus-RTU, ModBus-ASCII, DCON.
МВ110 не является Мастером сети, поэтому сеть RS-485 должна иметь Мастер сети, например, ПК с запущенной на нем SCADA-системой, контроллер.
К МВ110 предоставляется бесплатный ОРС-драйвер и библиотека стандарта WIN DLL, которые рекомендуется использовать при подключении прибора к SCADA-системам и контроллерам других производителей.
Конфигурирование МВ110 осуществляется на ПК через адаптер интерфейса RS-485/RS-232 или RS-485/USB (например ОВЕН АСЗ-М или АС4) с помощью программы «Конфигуратор М110», входящей в комплект поставки.
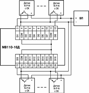
Основные особенности модуля ввода дискретных сигналов МВ110-16Д
- 16 каналов дискретного ввода, без изоляции
- Типи сигналів: безпотенційні ( «сухі») контакти, транзисторні ключі npn типу
- Частота вимірів: до 1 кГц, мінімальна тривалість імпульсу 0.5 мс
- Лічильник імпульсів для кожного каналу
- Напруга харчування *: ~ 220 В або = 24 В (універсальне джерело живлення)
| Найменування | значення |
| Споживана потужність, ВА, не більше | 6 |
| Кількість дискретних входів | 16 |
| Інтерфейс зв'язку з комп'ютером | RS-485 |
| Максимальна швидкість обміну по інтерфейсу RS-485, б / с | 115200 |
| Протокол зв'язку, який використовується для передачі інформації | ОВЕН; ModBus-RTU; ModBus-ASCII; DCON |
| Ступінь захисту корпусу | IP20 |
| Габаритні розміри приладу, мм | (63х110х73) ± 1 |
| Маса приладу, кг, не більше | 0,5 |
| Середній термін служби, років | 8 |
ПАРАМЕТРИ ДИСКРЕТНИХ ВХОДІВ
| Найменування параметру | Дискретний вхід (Д) |
| Гальванічна розв'язка дискретних входів | - |
| Електрична міцність ізоляції дискретних входів, В | - |
| Максимальна частота сигналу, що подається на дискретний вхід, кГц | 1 |
| Мінімальна тривалість імпульсу, сприйманого дискретним входом, мс | 0.5 (шпаруватість 2 для частоти 1 кГц) |
| Напруга живлення дискретних входів, В | - |
| Максимальний вхідний струм дискретного входу, мА, не більше | 7 |
| Струм «логічної одиниці», мА, не менше | - |
| Струм «логічного нуля», мА, не більше | - |
| Опір контакту (ключа) і сполучних проводів, що підключаються до дискретного входу, Ом, не більше | 100 |
| Тип датчика дискретного входу | Комутаційні пристрої (контакти кнопок, вимикачів, герконів, реле і т.п.). Датчики, які мають на виході транзисторний ключ npn- типу (відкритий колектор). |
НАПРУГА ЖИВЛЕННЯ
| Найменування | значення |
| МВ110-224.16Д | 90 ... 264 В змінного струму (номінальна напруга 220 В) частотою 47 ... 63Гц або 20 ... 375 В постійного струму (номінальна напруга 24 В) |
УМОВИ ЕКСПЛУАТАЦІЇ ПРИЛАДУ
- закриті вибухобезпечні приміщення без агресивних парів і газів;
- температура навколишнього повітря від мінус 10 до +55 ° С;
- верхня межа відносної вологості повітря 80% при 25 ° С і більш низьких температурах без конденсації вологи;
- атмосферний тиск від 86 до 106,7 кПа.





